Threaded rubber joint
Keywords:
Whatsapp:
Mail:
- Description
- Parameters
-
- 商品名稱: Threaded rubber joint
Threaded rubber joint | Internal thread | Shock absorption and noise reduction
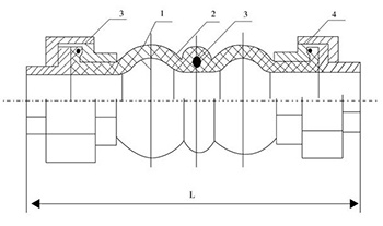
The product is composed of inner rubber layer, nylon cord fabric, rubber sphere compounded by outer rubber layer and loose metal flange. It has the characteristics of high pressure resistance, good elasticity, large displacement, shock absorption and noise reduction, flexible installation, etc. It can be widely used in water supply and drainage, circulating water, HVAC, papermaking, petrochemical, ships, compressors, pumps, fans and other pipelines system.
The threaded rubber joint is composed of an inner layer, a reinforcing layer, and an outer rubber layer conforming to the model vulcanized rubber double ball and a metal parallel joint. The product has high pressure resistance, sufficient elasticity, large displacement transformation, shock absorption and noise reduction, and the connection method Use female thread connections, used and field male threads to connect the pipeline to the valve. Threaded rubber joints are widely used in hotels, factories, residential areas of plumbing piping systems and circulation systems, sanitary pipes, chemical anti-corrosion and refrigeration pipes.

Threaded rubber joint features:
Reduce vibration and reduce noise.
High elasticity, high air tightness, medium and weather resistance.
Good flexibility and easy to use.
technical parameter:Type
ItemJGD( Ⅰ ) JGD( Ⅱ ) JGD( Ⅲ ) Work Pressure MPa(kg.f/cm2) 1.6 1.0 0.6 Bursting Pressure MPa(kg.f/cm2) 4.8 3.0 1.8 Vacuum KPa(mmHg) 86.7(650) 53.3(400) 40(300) Applied Temperature Suitable for -20 ~ +115(Specially to -30+250 )
Applied Medium Air, compressed, water, seawater, hot water, oil, and chemicals such as acid aikali, etc
- Threaded rubber joint
-
Nominal Diameter DN Length(mm) Axial displacement(mm)
Lateral displacement mm inch Elongation Compression mm 20 0.75 180 5-6 22 22 25 1 180 5-6 22 22 32 1.25 200 5-6 22 22 40 1.5 210 5-6 22 22 50 2 220 5-6 22 22 65 2.5 245 5-6 22 22
Related Products
undefined
Product message
Mobile Website
Hebei Keweite Pipeline Equipment Co., Ltd.
Tel: +8618332535575
Mail:zfmn1234@gmail.com
Address: Meidel Industrial Park, Chengxi Development Zone, Jingxian County, Hengshui City, Hebei Province
Copyright © 2022 Hebei Keweit Pipeline Equipment Co., Ltd.